日期:2023-06-15瀏覽: 來源:不朽情緣特
設備簡介
回轉式格柵除污機吸取國內外先進機型優化設計而成,是技術含量較高的固液分離設備,由機架、驅動、傳動、篩網、清污機構、電氣控制等部分構成。其結構新穎、占地面積小、運行平穩、安全可靠、能耗低、安裝維護方便。廣泛被用于各類泵站進水口、城市污水處理廠以及工業廢水處理工藝中攔截和清除漂浮物及固液分離。超寬新型設計--引進全新設計理念,采用大節鋸齒耙,內置式鏈條密封技術,使該類型設備能適應更廣泛的工況條件。
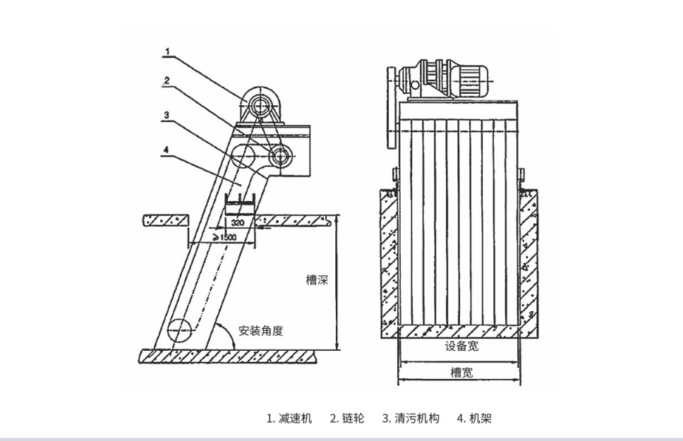
安裝示意圖
![R~OMYU6F6N$]HWK5G65TTKD R~OMYU6F6N$]HWK5G65TTKD](/uploadfile/ueditor/image/202306/16868041939ce5d2.png)
上一篇:回轉式格柵除污工作原理
下一篇:城市生活廢水一體化設備使用案例